Lắp đặt điều hòa đúng kỹ thuật giúp điều hòa hoạt động ổn định
Điều hòa không khí là thiết bị hết sức phức tạp ,khi điều hòa không khí được lắp đặt đúng kỹ thuật, điều hòa có thể hoạt động trong vài năm liền.Vì vậy việc lắp đặt điều hòa là công việc rất quan trọng và người thực hiện là những người thợ lành nghề và được đào tạo bài bản,
Dịch vụ sửa chữa điều hòa của chúng tôi luôn tự tin về dịch vụ lắp đặt của mình và tất cả dịch vụ lắp đặt được thực hiện bởi kỹ thuật viên có chứng chỉ nghề ở các trung tâm đào tạo nghê uy tín. Tay nghề đích thực của ku casino - lắp đặt chắc chắn sẽ xứng đáng với thời gian và đầu tư của bạn. Và chúng tôi xin giới thiệu với các bạn các bước lắp điều hòa để quý vị hiểu rõ hơn về tính năng của máy.
Lắp điều hòa cách trần bao nhiêu?
Dàn lạnh điều hòa lắp cách trần 20-30 cm .Vị trí đặt dàn lạnh phải thoáng phía dưới dàn lạnh không có vật che chắn đảm bảo hướng gió dàn lạnh thổi ra tốt nhất.

Dàn lạnh điều hòa cách trần 20-30cm
Đặt lỗ kích thước ống chờ cho điều hòa
Với những nhà đang xây chuẩn bị ống chờ lắp điều hòa thì tùy thuộc theo kích thước dàn lạnh thường ống chờ dàn lạnh điều hòa cách trần từ 50-60 cm. Lỗ chờ ống đồng đường kính Ø60 mm được đặt dốc ra phía ngoài tránh nước chảy ngược vào nhà.
.jpg)
Đặt lỗ chờ điều hòa cách trần 50-60 cm
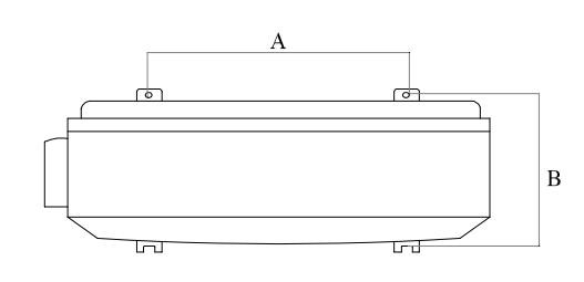
Sơ đồ kích thước lắp đặt điều hòa
Dưới đây là kích thước lắp đặt điều hòa chuẩn của nhà cung cấp khuyến nghị lắp đặt .
Sơ đồ lắp đặt điều hòa chuẩn của nhà sản xuất
Bẫy dầu khi lắp điều hòa là gì ?

Bẫy dầu điều hòa
Bẫy dầu là cách xử lý đoạn ống đồng uốn thành hình chữ U xuôi tại dàn nóng hoặc lạnh phía dưới và chữ U ngược tại dàn nóng hoặc lạnh phía trên nối với nhau để bẫy dầu bôi trơn dàn nóng không theo gas về dàn lạnh,tránh làm tắc dàn lạnh sẽ làm giảm hiệu suất làm lạnh của điều hòa.
Cách làm bẫy dầu cho điều hòa
Cách bẫy dầu điều hòa dàn nóng cao hơn dàn lạnh

Bẫy dầu cho dàn lạnh điều hòa
Cách bẫy dầu cho điều hòa khi dàn lạnh cao hơn dàn nóng.

Bẫy dầu cho dàn nóng điều hòa
Cách lắp đặt điều hòa không khí
Sau khi khảo sát vị trí lắp đặt, đảm bảo được các tiêu chuẩn ku casino - kỹ thuật tiến hành lắp đặt điều hòa không khí. Việc lắp đặt có thể được chia ra các phần sau ;
1. Lắp đặt dàn lạnh .
Tiến hành như sau ;
- Dàn lạnh được treo trên tường, cách trần khoảng10 -15cm (với máy điều hòa treo tường). Tháo bộ giá đỡ được lắp ở sau dàn lạnh, dùng giá treo giàn lạnh định vị và đo kích thước lắp đặt, cân bằng giá treo bằng Đi vô, (lưu ý giá treo phải cân bằng nhưng tốt nhất lên để dốc về phía ống thoát nước từ 0.5 tới 1mm dể nước trong máng được thoát dễ dàng hơn). Khi lấy dấu tiến hành khoan rồi bắt vít giá treo lên tường.
- Dùng tua vít tháo vỏ ốp bên ngoài dàn lạnh để đấu dây điện, dây tín hiệu theo hướng dẫn trong sách đi kèm.
- Nắn ống đồng cho phù hợp với lỗ khoan, tháo giắc co, dùng băng dính bịt kín 2 đầu lỗ, tránh bụi bẩn xâm nhập.
Bọc bảo ôn, cuốn băng xi gồm ống nước, ống đồng, dây diện thành một khối luồn qua lỗ khoan đi ra ngoài.
Đo khoảng cách từ giàn lạnh đến giàn nóng. Lưu ý khoảng các từ dàn nóng tới dàn lạnh không được vượt quá giới hạn nhà sản xuất quy định .
Cách quấn bảo ôn
- Treo mặt lạnh lên giá treo vừa bắt, dùng đi vô căn chỉnh lại dàn lạnh.
Cách đặt ống nước thải dàn lạnh
Tiến hành loe ống và kết nối với dàn lạnh .
Cách loe ống đúng kỹ thuật
2. Lắp đặt dàn nóng điều hòa đúng kỹ thuât.
Các bước tiến hành ;
- Vị trí dàn nóng được đặt trên bê tông hoặc giá đỡ có chiều cao nhỏ nhất là 100mm được giữ chặt bằng bulong.
- Nếu dàn nóng được treo bằng giá đỡ thì thực hiện các bước sau :
- Đo vị trí đặt giá treo, tiến hành lấy dấu.
- Dùng khoan khoan vào vị trí vừa lấy dấu, đóng nở rồi bắt giá.
- Đưa máy lên giá, dùng bulong bắt chặt chân máy vào giá đỡ.
- Tiến hành loe ống và kết nối với dàn nóng.
- Lắp ống nước xả dưới đáy dàn nóng (đối với máy 2 chiều).
3. Bẫy dầu cho điều hòa
Một số trường hợp do vị trí lắp máy không thuận tiện nên phải để cục nóng ở sân thượng hoặc mái nhà…nói chung là những vị trí cao hơn cục lạnh. Trường hợp này nếu ku casino - không có kinh nghiệm xử lý thì chỉ vài ngày sau khi lắp đặt là máy có thể bị hỏng.
Bởi vì cục nóng có chưá gas và dầu bôi trơn, khi máy chạy, gas bay hơi còn dầu chạy theo chiều dốc của ống và đọng lại nhiều trong cục lạnh khiến máy không lạnh, trong khi đó block máy lại thiếu dầu bôi trơn.
Ku casino - có kinh nghiệm sẽ làm bẫy dầu bằng cách uốn ống hình chữ U để không cho dầu rơi xuống cục lạnh, gây cháy block vì cục nóng thiếu dầu bôi trơn.
4 Thử kín đường ống
Đối với điều hòa inviter và điều hòa dùng ga R410 và ga 32 phải tiến hành hút chân không thử kín để loại bỏ không khí và hơi nước trong đường ống.Tránh làm hư hỏng hệ thông khi vận hành phương pháp thử kín theo sơ đồ sau:
Sơ đồ hút chân không khi lắp điều hòa
Với điều hòa dùng ga thường ta có thể thử kín bằng nước xà phòng và tiến hành đuổi khí đường ống.
Lưu ý :
Với những điều hòa vị trí mặt lạnh cách xa dàn nóng quá quy định của nhà sản xuất ta cần phải nạp ga điều hòa bổ xung để máy chạy ổn định hơn
5. Tiến hành kiểm tra, chạy thử ;
Kiểm tra dàn nóng điều hòa
Sau khi hoàn thành xong các bước trên ku casino - kỹ thuật tiến hành kiểm tra cho chạy thử máy. Đảm bảo được các yêu cầu kỹ thuật đặt ra .
- Điều hòa hoạt động ổn định ít nhất 30 phút sau khi chạy thử.
- Kiểm tra giàn nóng và giàn lạnh xem hoạt động có êm hay không.
- Dùng đồng hồ Ampe để đo mức ổn định của dòng điện.
- Dùng đồng hồ áp suất để đo áp suất ở đầu hồi về của giàn nóng theo đúng tiêu chuẩn quy định.
Lưu ý khi lắp đặt điều hòa
1. Vị trí dàn lạnh ;
- Lắp cục lạnh lên tường thật chắc chắn và cân đối để tránh bị rung.
- Luồng khí ra và vào không bị cản trở để khí có thể toả đều khắp phòng.
- Không lắp cục lạnh nơi có ánh nắng mặt trời trực tiếp chiếu vào.
- Lắp cục lạnh ở nơi có thể nối với cục nóng bên ngoài một cách dễ nhất.
- Lắp cục lạnh ở nơi đường ống thoát nước có thể lắp đặt dễ dàng và tấm lọc khí có thể tháo ra để bảo dưỡng, lau chùi thường xuyên được.
- Đường thoát nước ở cục lạnh phải dốc.
2. Vị trí lắp đặt giàn nóng ;
- Nếu có thể, không nên lắp cục nóng nơi có ánh nắng mặt trời trực tiếp chiếu vào.
- Không lắp cục nóng ở nơi có gió thổi mạnh hoặc nhiều bụi rác.
- Không đặt cục nóng ở nơi có nhiều người qua lại.
- Không nên đặt cục nóng trực tiếp xuống đất.
- Lưu ý tới hướng nhà hàng xóm vì rất có thể khí từ cục nóng thổi vào cửa sổ hoặc gây ra
tiếng ồn.
- Chỗ đặt cục nóng phải thoáng, khoảng cách giữa tường bao quanh với hai đầu hồi và
đằng sau giàn nóng phải ≥ 30 cm.
- Khoảng cách tường đối diện với cục nóng phải ≥ 60 cm.
6 lưu ý khi lắp đặt dàn nóng và dàn lạnh
1. Vị trí lắp máy phải dễ thao tác. Nếu ở vị trí khó lắp phải trang bị giàn giáo và dây bảo hiểm.
2. Dây ống đồng nối giữa cục nóng và cục lạnh không được dài quá 15m đối với máy có công suất
9000BTU và 12000BTU.
3. Đối với máy có công suất 18000BTU, 20000BTU và 24000BTU dây ống đồng nối giữa cục nóng với
cục lạnh không dài quá 20m.
4. Cục nóng không nên đặt cao quá cục lạnh 7m đối với máy có công suất 9000BTU và 12000BTU,
không quá 15m đối với máy có công suất 18000BTU, 20000BTU và 24000BTU.
5 .Dây cáp nguồn cho máy có công suất 9000BTU và 12000BTU ≥1,5mm.
6. Dây cáp nguồn cho máy có công suất trên 18000 BTU ≥ 2,5mm.
Trên đây là các bước lắp điều hòa cơ bản , để hệ thống điều hòa hoạt động tốt bền bỉ chúng tôi khuyên khách hàng nên lựa chọn dịch vụ của các trung tâm , dịch vụ sửa chữa điều hòa uy tín .
Với kinh nghiệm lâu năm trong nghề lắp đặt bảo dưỡng , sửa chữa điều hòa cùng với những người ku casino - có tay nghề cao luôn ý thức học hỏi,trao đổi kinh nghiệm.Chúng tôi chuyên nhận;
- Tháo điều hòa di chuyển vị trí điều hòa
- Thay thế và sửa chữa điều hòa
- Lắp đặt điều hòa các loại, điều hòa dân dụng điều hòa tất cả các hãng .
Tham khảo dịch vụ của chúng tôi :
Chúng tôi nhận lắp đặt , sửa chữa bảo dưỡng điều hòa cho các hộ gia đình, xí nghiệp, nhà máy, văn phòng, nhà chung cư, cao ốc, biệt thự, nhà hàng, khách sạn ở các quận, huyện trong khu vực Hà nội với mức giá rẻ nhất thị trường.
Khi cần tới dịch vụ lắp đặt điều hòa quý khách liên hệ ;
Hotline : 0964 743 683
Email :